2021年3月7日
售价:5150
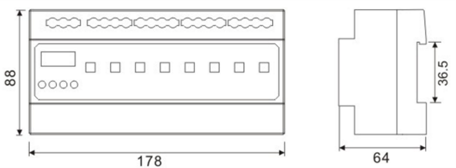
支持控制8路强电通断控制; 每路最大50A; 紧急情况下,可以使用手动扳动开关控制; 可接入消防紧急控制 直接使用AC220V供电。 触点负载功率:白炽灯负载9000W、LED负载3000W
强电照明控制
上一篇文章
下一篇文章